Pointes de capture PRV/Al

Pointe de capture installée sur un plot béton à clavettes pour la mise en œuvre d’un dispositifs de capture isolé, par ex. sur des toits plats.

Pour déterminer la distance de séparation (longueur de la tige d’écartement), le facteur matériel km = 0,7.
Diamètre 16 mm, résistant aux UV, couleur gris clair, plage de température permanente de -50 jusqu’à +100°C.

Les pointes de capture doivent être installées sur 2 plots béton (poids de 17 kg). Elles sont dimensionnées selon Eurocode 1 (DIN EN 1991-1-4 + DIN EN 1991-1-4/NA) .
Les plots béton empilables (référence 102 010) et les plaques de protection (référence 102 050) doivent être commandés séparément.

Les pointes de capture PRV/Al satisfont les exigences de la norme DIN/IEC TS 62561-8.

Version comprimée

2 Products

Part No. 106207 FS 16 10 1660 GFK AL

GTIN 4013364127623, Customs tariff No. (EU): 85389099, Gross weight: 493.00 g, PU: 10.00 pièce(s)


Images

Additional information

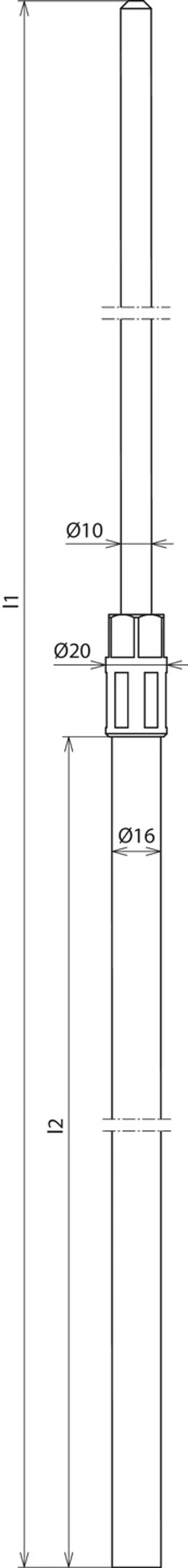
Pointe de capture PRV/aluminium en version comprimée Longueur totale 1660 mm
Pointes de capture PRV/Al
pour construction de dispositifs de capture séparés, par ex.
sur les toits plats, installées sur un plot béton à clavettes.
Distances de séparation conformément à la norme DIN EN 62305-3 (VDE 0185-305-3).
Les pointes de capture sont dimensionnées selon Eurocode 1 (DIN EN 1991-1-4 + DIN EN 1991-1-4/NA).

Tige d’écartement en matière plastique à renfort de verre (PRV) Ø16 mm, facteur de matériel km = 0,7, résistante aux UV, couleur gris clair.

Version comprimée
Longueur totale: 1660 mm
Distance d'isolement: 635 mm
Matériau - pointe captrice / connecteur de fixation: Al
Matériau - pièce d'écartement: PRV
Vitesse de vent en rafales max. (1 socle 17 kg, distance entre supports 1000 mm, Alu Ø8 mm): 114 km/h
Vitesse de vent en rafales max. (2 socles 17 kg, distance entre supports 1000 mm, Alu Ø8 mm): 129 km/h
Norme: DIN IEC/TS 62561-8 (VDE V 0185-561-8)

produit : DEHN
Type: FS 16 10 1660 GFK AL
Référence: 106207
ou équivalent

Certificates

 

Technical data

Longueur totale (l1) 1660 mm
Distance d'isolement (l2) 635 mm
Matériau - pointe captrice / connecteur de fixation Al
Vitesse de vent en rafales max. (1 socle 17 kg, distance entre supports 1000 mm, Alu Ø8 mm) 114 km/h
Vitesse de vent en rafales max. (2 socles 17 kg, distance entre supports 1000 mm, Alu Ø8 mm) 129 km/h
Norme DIN IEC/TS 62561-8 (VDE V 0185-561-8)

Product 106207 was added to Notepad.

Product 106207 was added to the cart.

Part No. 106210 FS 16 10 2000 GFK AL

GTIN 4013364127630, Customs tariff No. (EU): 85389099, Gross weight: 625.00 g, PU: 10.00 pièce(s)


Images

Additional information

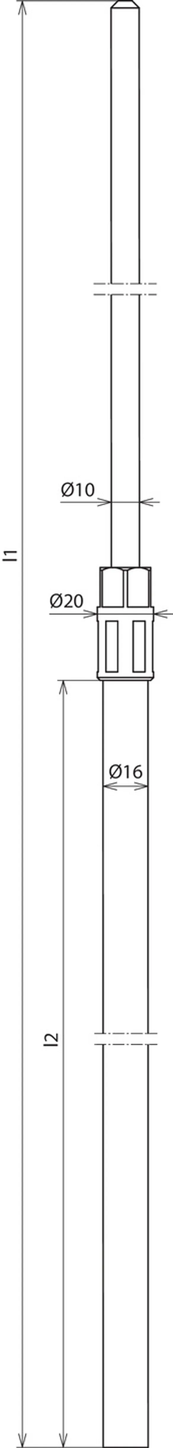
Pointe de capture PRV/aluminium en version comprimée Longueur totale 2000 mm
Pointes de capture PRV/Al
pour construction de dispositifs de capture séparés, par ex.
sur les toits plats, installées sur un plot béton à clavettes.
Distances de séparation conformément à la norme DIN EN 62305-3 (VDE 0185-305-3).
Les pointes de capture sont dimensionnées selon Eurocode
Pointe de capture PRV/Al en version comprimée Longueur totale 1660 mm
Pointes de capture PRV/Al
pour construction de dispositifs de capture séparés, par ex.
sur les toits plats, installées sur un plot béton à clavettes.
Distances de séparation conformément à la norme DIN EN 62305-3 (VDE 0185-305-3).
Les pointes de capture sont dimensionnées selon Eurocode 1 (DIN EN 1991-1-4 + DIN EN 1991-1-4/NA).

Tige d’écartement en matière plastique à renfort de verre (PRV) Ø16 mm, facteur de matériel km = 0,7, résistante aux UV, couleur gris clair.

Version comprimée
Tige d’écartement en matière plastique à renfort de verre (PRV) Ø16 mm, facteur de matériel km = 0,7, résistante aux UV, couleur gris clair.

Version comprimée
Longueur totale: 2000 mm
Distance d'isolement: 975 mm
Matériau - pointe captrice / connecteur de fixation: Al
Matériau - pièce d'écartement: PRV
Vitesse de vent en rafales max. (1 socle 17 kg, distance entre supports 1000 mm, Alu Ø8 mm): 93 km/h
Vitesse de vent en rafales max. (2 socles 17 kg, distance entre supports 1000 mm, Alu Ø8 mm): 105 km/h
Norme: DIN IEC/TS 62561-8 (VDE V 0185-561-8)

produit : DEHN
Type: FS 16 10 2000 GFK AL
Référence: 106210
ou équivalent

Certificates

 

Technical data

Longueur totale (l1) 2000 mm
Distance d'isolement (l2) 975 mm
Matériau - pointe captrice / connecteur de fixation Al
Vitesse de vent en rafales max. (1 socle 17 kg, distance entre supports 1000 mm, Alu Ø8 mm) 93 km/h
Vitesse de vent en rafales max. (2 socles 17 kg, distance entre supports 1000 mm, Alu Ø8 mm) 105 km/h
Norme DIN IEC/TS 62561-8 (VDE V 0185-561-8)

Product 106210 was added to Notepad.

Product 106210 was added to the cart.


Version variable avec filetage M10

par exemple pour pointes captrices de réf. 101 001, pointes captrices avec une borne MV de réf. 105 071 (pour les raccordements perpendiculaires) ou bornes MV de réf. 105 079 (pour les liaisons).

2 Products

Part No. 106217 DIST 16 M10 675 GFK

GTIN 4013364128811, Customs tariff No. (EU): 85389099, Gross weight: 280.00 g, PU: 10.00 pièce(s)

Predecessor

Images

Additional information


Longueur totale: 675 mm
Distance d'isolement: 635 mm
Matériau - pointe captrice / connecteur de fixation: Al
Matériau - pièce d'écartement: PRV
Norme: DIN IEC/TS 62561-8 (VDE V 0185-561-8)

produit : DEHN
Type: DIST 16 M10 675 GFK
Référence: 106217
ou équivalent

Certificates

 

Technical data

Longueur totale (l1) 675 mm
Distance d'isolement (l2) 635 mm
Matériau - pointe captrice / connecteur de fixation Al
Norme DIN IEC/TS 62561-8 (VDE V 0185-561-8)

Product 106217 was added to Notepad.

Product 106217 was added to the cart.

Part No. 106220 DIST 16 M10 1015 GFK

GTIN 4013364128828, Customs tariff No. (EU): 85389099, Gross weight: 410.00 g, PU: 10.00 pièce(s)


Images

Additional information


Longueur totale: 1015 mm
Distance d'isolement: 975 mm
Matériau - pointe captrice / connecteur de fixation: Al
Matériau - pièce d'écartement: PRV
Norme: DIN IEC/TS 62561-8 (VDE V 0185-561-8)

produit : DEHN
Type: DIST 16 M10 1015 GFK
Référence: 106220
ou équivalent

Certificates

 

Technical data

Longueur totale (l1) 1015 mm
Distance d'isolement (l2) 975 mm
Matériau - pointe captrice / connecteur de fixation Al
Norme DIN IEC/TS 62561-8 (VDE V 0185-561-8)

Product 106220 was added to Notepad.

Product 106220 was added to the cart.


back to top